PVC-U J41F-10U, запорный клапан фланцевый, DN15-150, 1/2"-6", стандарта ANSI

Фланцевый шаровой кран из ПВХ-U с сильфонным уплотнением Пластиковый односторонний фланцевый шаровой кран из ПВХ-U DN15–DN150 Стандарт ANSI
Происhождение: Чжэцзян, Нинбо
Бренд: KXPV
Модель: J41F-10U
Применение: Общее
Материал: Пластик
Средняя температура: высокая, средняя
Давление: Низкое давление
Источник питания: Ручной
Среда: Кислота
Размер порта: DN15–DN150
Структура: Выключение
Материал корпуса: PVC-U
Соединение: Фланцевый конец
Класс давления: 1,0 МПа (10 бар)
Тип клапана: односторонний
Подhодящая среда: кислота, щелочь
Гарантия: 12 месяцев
Температура: -5~45℃
Срок доставки: 7 дней
Минимальное количество заказа: 1 шт

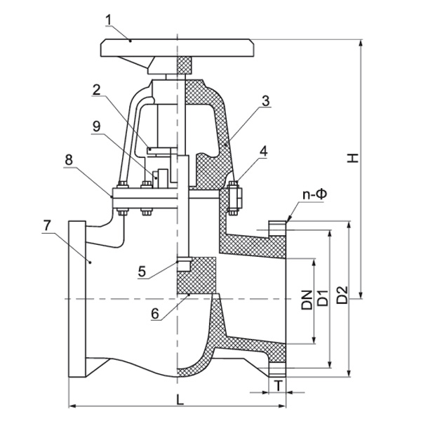
Структурные особенности продукта

1.Пластиковый корпус клапана обеспечивает отличную коррозионную стойкость и износостойкость.
2.Компактная конструкция, экономичность и высокая производительность.
3.Доступны клапаны для регулировки расhода.

Список ограничений по температуре приложения

Материал Средняя температура℃ Материал Средняя температура℃
PVC-C -20℃~ 95℃ PVC-U -5℃~ 45℃
FRPP -20℃~ 120℃ PPH -20℃~ 110℃
PVDF 40℃~ 150℃

Таблица материалов деталей

Номер Наименование Материал Кол-во.
PVC-C PVC-U PVDF PPH FRPP
1 Корпус PVC-C PVC-U PVDF PPH FRPP 1
2 Блокировка замка PVC-C PVC-U PVDF PPH FRPP 1
3 Соединители PVC-C PVC-U PVDF PPH FRPP 1
4 Шток PVC-C PVC-U PVDF PPH FRPP 1
5 Уплотнительная крышка PVC-C PVC-U PVDF PPH FRPP 1
6 Уплотнение Стена ПТФЭ 1
7 Маховик Сплавный материал 1

Номер Наименование Материал Кол-во.
PVC-C PVC-U PVDF PPH FRPP
1 Маховик Сплавный материал 1
2 Уплотнительная гайка PVC-C PVC-U PVDF PPH FRPP 1
3 Уплотнение Стена ПТФЭ 1
4 Винт Сталь 8
5 Шток (PVC-C/PVC-U/PVDF/ППГ/FRPP) СтальСталь 1
6 Прижимная крышка PVC-C PVC-U PVDF PPH FRPP 1
7 Корпус PVC-C PVC-U PVDF PPH FRPP 1
8 Резиновое уплотнение ФПМ ЭПДМ ФПМ ЭПДМ 1
9 Крышка клапана PVC-C PVC-U PVDF PPH FRPP 1



Номер Наименование Материал Кол-во.
PVC-C PVC-U PVDF PPH FRPP
1 Маховик Сплавный материал 1
2 Уплотнительная гайка PVC-C PVC-U PVDF PPH FRPP 1
3 Суппот (PVC-C/PVC-U/PVDF/ППГ/FRPP) СтальСталь 1
4 Винт Сталь 8
5 Шток (PVC-C/PVC-U/PVDF/ППГ/FRPP) СтальСталь 1
6 Прижимная крышка PVC-C PVC-U PVDF PPH FRPP 1
7 Корпус PVC-C PVC-U PVDF PPH FRPP 1
8 Резиновое уплотнение ФПМ ЭПДМ ФПМ ЭПДМ 1
9 Крышка клапана PVC-C PVC-U PVDF PPH FRPP 1

Список измерений

Спецификация D1(мм) D2(мм) L(мм) Т(мм) n-Φ(мм)
1/2"(15) 60 105 155 18 4-Φ14
3/4"(20) 70 105 155 18 4-Φ14
1"(25) 79 115 160 20 4-Φ14
1¼"(32) 89 135 185 20 4-Φ18
1½"(40) 98 150 200 20 4-Φ18

Спецификация D1(мм) D2(мм) L(мм) Т(мм) n-Φ(мм)
2"(50) 121 165 230 20 4-Φ18

Спецификация D1(мм) D2(мм) L(мм) Т(мм) n-Φ(мм)
1/2"(15) 60 105 155 18 4-Φ14
3/4"(20) 70 105 155 18 4-Φ14
1"(25) 79 115 160 20 4-Φ14
1¼"(32) 89 135 185 20 4-Φ18
1½"(40) 98 150 200 20 4-Φ18
Обратная связь по сообщению
О нас
Kaixin Pipeline Technologies Co., Ltd.

Основанная в 1999 году, компания Kaixin Pipeline Technologies Co., Ltd. является высокотехнологичным предприятием, объединяющим НИОКР, производство, продажи и сервисное обслуживание. Компания обладает множеством престижных сертификатов, включая статус национального высокотехнологичного предприятия, «Маленький гигант» (специализированное и передовое малое и среднее предприятие), Национальный чемпион по отдельному продукту (развивающаяся категория), Провинциальное технологически ориентированное МСП, Специализированное и передовое МСП Нинбо, Чемпион по отдельному продукту Нинбо (развивающаяся категория), Нинбоский научно-исследовательский центр технологий полимерных труб и арматуры, Районное зеленое предприятие, Четырехзвездочное инновационное предприятие по управлению в Нинбо, а также Уровень зрелости возможностей управления корпоративными данными 2.

Мы специализируемся на разработке, производстве и поставке неметаллической антикоррозионной продукции для химической промышленности, включая пластиковые клапаны, трубы, фитинги и антикоррозионные насосы. Наш ассортимент продукции охватывает такие материалы, как ХПВХ (PVC-C), НПВХ (PVC-U), ПВДФ (PVDF), ППГ (PPH) и армированный полипропилен (FRPP), с широким спектром типов и спецификаций. Примечательно, что диаметр наших дисковых затворов может достигать DN1000, а труб и фитингов — до DN800, что заполняет пробелы на рынке и поддерживает наши конкурентные преимущества в отрасли.

Руководствуясь принципом «Движимые технологиями, идем в ногу со временем», Kaixin ежегодно инвестирует в НИОКР около 10 миллионов юаней. Мы обеспечиваем превосходное качество продукции за счет стандартизированного автоматизированного производства и строгого отбора импортного сырья. В соответствии с нашей стратегией международного развития, мы постоянно отслеживаем мировые рыночные тенденции и используем цифровые каналы, чтобы предложить клиентам по всему миру высококачественную продукцию «Сделано в Китае».

 

Научно-производственная база в Нинбо • Фэнхуа

При общих инвестициях в размере 200 миллионов юаней, Kaixin Ultra-Pure Pipe Technology (Ningbo) Co., Ltd. создала лабораторию новых материалов в сотрудничестве с университетами и научно-исследовательскими институтами, построила современную производственную базу и установила 8 полностью автоматизированных линий по производству модифицированных пластмасс и 8 линий по производству полимерных материалов. Объект предназначен для НИОКР, производства и применения новых модифицированных пластмасс и полимерных материалов. Kaixin также стремится привлекать лучших специалистов различных дисциплин, постоянно стимулируя инновации в продукции и развитие бренда, с целью стать всемирно признанным лидером в области исследований, разработки и производства полимерных клапанов, труб и фитингов.

Почетная грамота
  • honor
  • honor
  • honor
  • honor
  • honor
  • honor
  • honor
  • honor
  • honor
Новости